Содержание

Оглавление:
  I. Принцип построения вычислительных сетей
  II. Основы передачи данных
  III. Базовые технологии локальных сетей
  IV. Построение локальных сетей
  V. Построение больших сетей
  VI. Глобальные сети
  VII. Средства анализа и управления сетями <

Дополнительно:
  Заключение
  Список литературы
Компьютерные сети

Глава VI.
Глобальные сети


6.3. Глобальные связи на основе сетей с коммутацией каналов

Выделенные линии представляют собой наиболее надежное средство соединения локальных сетей через глобальные каналы связи, так как вся пропускная способность такой линии всегда находится в распоряжении взаимодействующих сетей. Однако это и наиболее дорогой вид глобальных связей - при наличии N удаленных локальных сетей, которые интенсивно обмениваются данными друг с другом, нужно иметь Nx(N-l)/2 выделенных линий. Для снижения стоимости глобального транспорта применяют динамически коммутируемые каналы, стоимость которых разделяется между многими абонентами этих каналов.

Наиболее дешевыми оказываются услуги телефонных сетей, так как их коммутаторы оплачиваются большим количеством абонентов, пользующихся телефонными услугами, а не только абонентами, которые объединяют свои локальные сети.

Телефонные сети делятся на аналоговые и цифровые в зависимости от способа мультиплексирования абонентских и магистральных каналов. Более точно, цифровыми называются сети, в которых на абонентских окончаниях информация представлена в, цифровом виде и в которых используются цифровые методы мультиплексирования и коммутации, а аналоговыми - сети, которые принимают данные от абонентов аналоговой формы, то есть от классических аналоговых телефонных аппаратов, а мультиплексирование и коммутацию осуществляют как аналоговыми методами, так и цифровыми. В последние годы происходил достаточно интенсивный процесс замены коммутаторов телефонных сетей на цифровые коммутаторы, которые работают на основе технологии TDM. Однако такая сеть по-прежнему останется аналоговой телефонной сетью, даже если все коммутаторы будут работать по технологии TDM, обрабатывая данные в цифровой форме, если абонентские окончания у нее останутся аналоговыми, а аналого-цифровое преобразование выполняется на ближней к абоненту АТС сети. Новая технология модемов V.90 смогла использовать факт существования большого количества сетей, в которых основная часть коммутаторов являются цифровыми.

К телефонным сетям с цифровыми абонентскими окончаниями относятся так называемые службы Switched 56 (коммутируемые каналы 56 Кбит/с) и цифровые сети с интегральными услугами ISDN (Intergrated Services Digital Network). Службы Switched 56 появились в ряде западных стран в результате предоставления конечным абонентам цифрового окончания, совместимого со стандартами линий Т1. Эта технология не стала международным стандартом, и сегодня она вытеснена технологией ISDN, которая такой статус имеет.

Сети ISDN рассчитаны не только на передачу голоса, но и компьютерных данных, в том числе и с помощью коммутации пакетов, за счет чего они получили название сетей с интегральными услугами. Однако основным режимом работы сетей ISDN остается режим коммутации каналов, а служба коммутации пакетов обладает слишком низкой по современным меркам скоростью - обычно до 9600 бит/с. Поэтому технология ISDN будет рассмотрена в данном разделе, посвященном сетям с коммутацией каналов. Новое поколение сетей с интеграцией услуг, названное B-ISDN (от broadband - широкополосные), основано уже целиком на технике коммутации пакетов (точнее, ячеек технологии АТМ), поэтому эта технология будет рассмотрена в разделе, посвященном сетям с коммутацией пакетов.

Пока географическая распространенность аналоговых сетей значительно превосходит распространенность цифровых, особенно в нашей стране, но это отставание с каждым годом сокращается.

6.3.1. Аналоговые телефонные сети

Организация аналоговых телефонных сетей

Наиболее популярными коммутируемыми каналами являются каналы, создаваемые обычными аналоговыми телефонными сетями. В англоязычной литературе их иногда называют POTS (Plain Old Telephone Service), - что-то вроде «старая добрая телефонная служба», хотя, конечно, название PSTN (Public Switched Telephone Network) - «публичная коммутируемая телефонная сеть» является более официальным. К сожалению, эти сети малопригодны для построения магистралей корпоративных сетей. Со средней пропускной способностью 9600 бит/с коммутируемые аналоговые линии, оснащенные модемами, подходят только для пользователя с минимальными требованиями к времени реакции системы. Максимальная на сегодня пропускная способность в 56 Кбит/с достигается только в том случае, если все коммутаторы в сети на пути следования данных являются цифровыми, да и то такая скорость обеспечивается только в направлении «сеть - пользователь».

Чаще всего такие линии используются для индивидуального удаленного доступа к сети или же как резервные линии связи небольших офисов с центральным отделением предприятия. Доступ по телефонной сети имеет англоязычное название «dial-up access». Тем не менее при недостатке средств коммутируемые аналоговые линии обеспечивают связь локальных сетей между собой. Это выгодный режим соединения, если количество передаваемых данных невелико и данные не требуют частого обновления. В этом случае две сети могут соединяться по аналоговой телефонной сети, например, раз в сутки, передавать в течение нескольких минут данные, а затем разрывать соединение. При повременной оплате телефонного соединения такой режим оказывается эффективным. Обычно к нему прибегают для передачи сводок работы предприятия за день, точнее тех частей сводок, которые имеют небольшие объемы (чаще всего - это числовые показатели, без графики).

Ниже перечислены основные характеристики аналоговых телефонных сетей.

  • При вызове пользователи получают прямое соединение через коммутаторы в сети. Прямое соединение эквивалентно паре проводов с полосой пропускания от 300 до 3400 Гц. Абонентское окончание 2-проводное.

  • Вызов абонента может осуществляться двумя способами: с помощью импульсного набора с частотой 10 Гц или тонового набора с частотой 10 Гц. При импульсном наборе длительность набора зависит от того, какие цифры образуют номер - например, цифра 0 передается десятью последовательными импульсами, цифра 9 - девятью и т. д. При тоновом наборе любая цифра передается подачей в сеть двух синусоидальных сигналов разной частоты в течение 50 мс (сопровождаемых паузой 50 мс). Поэтому набор номера тоновым способом в среднем в 5 раз быстрее, чем импульсный (к сожалению, в нашей стране импульсный набор пока остается основным способом набора во всех городах).

  • Коммутаторы сети не позволяют обеспечить промежуточное хранение данных. Поскольку запоминающие устройства в коммутаторах отсутствуют, возможен отказ в соединении при занятости абонента или при исчерпании коммутатором своих возможностей по соединению входных и выходных каналов (занятость АТС).

  • Для передачи дискретных данных по аналоговым коммутируемым сетям используются модемы, поддерживающие процедуру вызова абонента.

  • Пропускная способность коммутируемого аналогового канала заранее неизвестна, так как модемы устанавливают соединение на скорости, подходящей для реального качества канала. Так как качество коммутируемых каналов меняется в течение сеанса связи, то модемы изменяют скорость передачи данных динамически.

В телефонных коммутаторах аналоговых телефонных сетей могут использоваться два принципа коммутации - аналоговый, основанный на частотном разделении канала (FDM), и цифровой, основанный на разделении канала во времени (TDM).

Системы, работающие по методу частотного уплотнения, подразделяются на электромеханические и программно-управляемые электронные. Электромеханические системы (например, шаговые искатели) управляются по проводным цепям и приводятся в действие электродвигателями или шаговыми искателями. В электромеханических системах логика маршрутизации встроена в аппаратуру. В программно-управляемых коммутаторах логика коммутации реализуется программным обеспечением, а сама коммутация выполняется электронным способом.

Электромеханические коммутаторы, естественно, создают значительные помехи в коммутируемых каналах. Кроме того, дополнительные помехи создает сам способ коммутации уплотненных каналов на основе FDM. Это объясняется тем, что коммутировать уплотненные в общий канал сигналы отдельных абонентов невозможно. Перед операцией коммутации всегда нужно провести полное демультиплексирование сигналов абонентских каналов, то есть превратить сигнал высокочастотной несущей (который находится в диапазоне от 60 до 108 кГц для уплотненного канала первого уровня, состоящего из 12 абонентских каналов) в голосовой сигнал со спектром от 300 до 3400 Гц. Только затем такие каналы можно коммутировать с помощью шаговых искателей или электронных ключей. После коммутации абонентские каналы снова уплотняются в высокочастотный канал, но каждый входной канал теперь уже накладывается на несущую другой порядковой частоты, что и соответствует операции коммутации (напомним, что при TDM-коммутации в уплотненном кадре меняется порядок следования байт).

Операция демультиплексирования высокочастотной несущей, а затем повторное наложение сигналов на высокочастотные несущие создает значительные помехи (треск и свист в телефонной трубке), которые существенно снижают качество коммутируемых каналов по сравнению с выделенными аналоговыми. Понятно, что наличие электромеханических элементов только усугубляет картину, а старые АТС с шаговыми искателями еще эксплуатируются (в Москве только совсем недавно была демонтирована АТС 231, которая работала с 30-х годов и была, естественно, электромеханической).

Переход на цифровые методы коммутации существенно повышает качество коммутируемых каналов даже при том, что сигнал от абонента поступает в ближайшую АТС в аналоговой форме, а значит, подвергается на «последней миле» воздействию помех, которые уже невозможно отфильтровать.

Модемы для работы на коммутируемых аналоговых линиях

Для передачи данных по аналоговым коммутируемым телефонным каналам используются модемы, которые:

  • поддерживают процедуру автовызова абонента;

  • работают по 2-проводному окончанию, так как в телефонных сетях для коммутируемых каналов предусмотрено именно это окончание.

Чаще всего сегодня для коммутируемых каналов используются те же модели модемов, что и для выделенных, так как последние стандарты определяют два режима работы - по выделенным каналам и по коммутируемым. Естественно, такие комбинированные модели дороже моделей, поддерживающих только один режим работы - по коммутируемым каналам.

Для передачи данных по коммутируемым каналам CCITT разработал ряд основных стандартов, определяющих скорость и метод кодирования сигналов.

Стандарты первой группы являются основными и состоят из следующих спецификаций:

  • V.21 - дуплексная асинхронная передача данных на скорости 300 бит/с;

  • V.22 - дуплексная асинхронная/синхронная передача данных на скорости 1,2 Кбит/с;

  • V.22 bis - дуплексная асинхронная/синхронная передача данных на скоростях 1,2 и 2,4 Кбит/с;

  • V.26 ter - дуплексная асинхронная/синхронная передача данных на скоростях 1,2 и 2,4 Кбит/с;

  • V.32 - дуплексная асинхронная/синхронная передача данных на скоростях 4,8 и 9,6 Кбит/с;

  • V.32 bis - дуплексная асинхронная/синхронная передача на скорости до 14,4 Кбит/с;

  • V.34 - дуплексная передача на скорости до 28,8 Кбит/с;

  • V.34+ - дуплексная передача на скорости до 33,6 Кбит/с.

На практике сегодня в основном применяют модемы, поддерживающие стандарт V.34+, которые могут адаптироваться к качеству линии.

Для реализации функций автовызова современные модемы поддерживают несколько способов. При работе с модемом по асинхронному интерфейсу обычно используется система команд, предложенная компанией Hayes для своей модели Smartmodem в начале 80-х годов. Каждая команда состоит из набора обычных символов, передаваемых модему в старт-стопном режиме. Например, для указания набора номера в импульсном режиме необходимо послать модему команду ATDP. Это можно сделать даже вручную, если модем подключен к обычному алфавитно-цифровому терминалу через интерфейс RS-232C.

Для синхронных интерфейсов между модемом и DTE используются два стандарта автонабора номера: V.25 и V.25bis. Стандарт V.25 требует, чтобы, помимо основного интерфейса для передачи данных, модем соединялся с DTE отдельным интерфейсом V.25/RS-366 на специальном 25-контактном разъеме. В стандарте V.25 bis для передачи команд автовызова предусмотрен тот же разъем, что и в основном интерфейсе, то есть RS-232C. Интерфейсы V.25 и V.25 bis могут работать не только в синхронном режиме с DTE, но и в асинхронном, но в основном характерны для синхронных интерфейсов, так как в асинхронном режиме для автовызова чаще используются Hayes-команды.

Для модемов, работающих с DTE по асинхронному интерфейсу, комитет CCITT разработал протокол коррекции ошибок V.42. До его принятия в модемах, работающих по асинхронному интерфейсу, коррекция ошибок обычно выполнялась по протоколам фирмы Microcom, еще одного лидера в области модемных технологий. Эта компания реализовала в своих модемах несколько различных процедур коррекции ошибок, назвав их протоколами MNP (Microcom Networking Protocol) классов 2-4.

В стандарте V.42 основным является другой протокол - протокол LAP-M (Link Access Protocol for Modems). Однако стандарт V.42 поддерживает и процедуры MNP 2-4, поэтому модемы, соответствующие рекомендации V.42, позволяют устанавливать свободную от ошибок связь с любым модемом, поддерживающим этот стандарт, а также с любым MNP-совместимым модемом. Протокол LAP-M принадлежит семейству HDLC и в основном работает так же, как и другие протоколы этого семейства - с установлением соединения, кадрированием данных, нумерацией кадров и восстановлением кадров с поддержкой метода скользящего окна. Основное отличие от других протоколов этого семейства - наличие кадров XID и BREAK. С помощью кадров XID (eXchange Identification) модемы при установлении соединения могут договориться о некоторых параметрах протокола, например о максимальном размере поля данных кадра, о величине тайм-аута при ожидании квитанции, о размере окна и т. п. Эта процедура напоминает переговорные процедуры протокола РРР. Команда BREAK (BRK) служит для уведомления модема-напарника о том, что поток данных временно приостанавливается. При асинхронном интерфейсе с DTE такая ситуация может возникнуть. Команда BREAK посылается в ненумерованном кадре, она не влияет на нумерацию потока кадров сеанса связи. После возобновления поступления данных модем возобновляет и отправку кадров, как если бы паузы в работе не было.

Почти все современные модемы при работе по асинхронному интерфейсу поддерживают стандарты сжатия данных CCITT V.42bis и MNP-5 (обычно с коэффициентом 1:4, некоторые модели - до 1:8). Сжатие данных увеличивает пропускную способность линии связи. Передающий модем автоматически сжимает данные, а принимающий их восстанавливает. Модем, поддерживающий протокол сжатия, всегда пытается установить связь со сжатием данных, но если второй модем этот протокол не поддерживает, то и первый модем перейдет на обычную связь без сжатия.

При работе модемов по синхронному интерфейсу наиболее популярным является протокол компрессии SDC (Synchronous Data Compression) компании Motorola.

Новый модемный стандарт V.90 является технологией, направленной на обеспечение недорогого и быстрого способа доступа пользователей к сетям поставщиков услуг. Этот стандарт обеспечивает асимметричный обмен данными: со скоростью 56 Кбит/с из сети и со скоростью 30-40 Кбит/с в сеть. Стандарт совместим со стандартом V.34+.

Основная идея технологии асимметричных модемов состоит в следующем. В современных телефонных сетях часто единственным аналоговым звеном в соединении с сервером удаленного доступа является телефонная пара, связывающая модем компьютера с коммутатором телефонной станции. Этот канал оптимизирован для передачи речевых сигналов: максимальная скорость передачи данных определяется из условия предельно допустимого соотношения между шумами физической линии передачи и погрешностью дискретизации звукового сигнала при его оцифровывании. Эта величина задается стандартом V.34+ и равна 33,6 Кбит/с.

Однако все выше приведенные соображения справедливы только для одного направления передачи данных - от аналогового модема к телефонной станции. Именно на этом участке выполняется аналого-цифровое преобразование, которое вносит погрешность квантования. Эта погрешность добавляется к другим помехам линии и ограничивает скорость передачи 33,6 Кбит/с. Обратное же цифро-аналоговое преобразование не вносит дополнительного шума, что делает возможным увеличение скорости передачи от телефонной станции к модему пользователя до 56 Кбит/с.

Достоинством новой технологии является то, что для ее внедрения не требуется вносить какие-либо изменения в оборудование телефонной станции - нужно лишь изменить программу в цифровых модемах, установленных в стойках у поставщика услуг, а также загрузить в пользовательский модем новую программу либо заменить микросхему памяти в зависимости от модели и производителя.

Технологии асимметричных модемов рассчитаны на то, что сервер удаленного доступа поставщика услуг корпоративной или публичной сети с коммутацией пакетов подключен к какой-либо АТС телефонной сети по цифровому интерфейсу, например BRI ISDN, или же по выделенному каналу Т1/Е1. Так что цифровой поток данных, идущий от сервера, постоянно пересылается сетью в цифровой форме и только на абонентском окончании преобразуется в аналоговую форму. Если же сервер удаленного доступа подключен к телефонной сети по обычному аналоговому окончанию, то даже наличие модема V.90 у сервера не спасет положение - данные будут подвергаться аналого-цифровому преобразованию, и их максимальная скорость не сможет превысить 33,6 Кбит/с. При подключении же модемов V.90 к телефонной сети с обеих сторон обычным способом, то есть через аналоговые окончания, они работают как модемы V.34+. Такая же картина будет наблюдаться в случае, если в телефонной сети на пути трафика встретится аналоговый коммутатор.

6.3.2. Служба коммутируемых цифровых каналов Switched 56

Если все коммутаторы телефонной сети работают по технологии цифровой коммутации TDM, то кажется, что перевод абонентского окончания на передачу данных в цифровой форме - не такая уж сложная вещь. И, имея сеть цифровых телефонных коммутаторов, нетрудно сделать ее полностью цифровой. Однако это не так. Передача данных со скоростью 64 Кбит/с в дуплексном режиме требует либо прокладки между жилыми домами и АТС новых кабелей, либо специальных усилителей-регенераторов на обоих концах абонентского окончания, то есть в том числе и в квартирах. Оба способа связаны с большими затратами труда и материальных средств, так как аналоговые телефонные сети вполне довольствуются тем медным проводом, который в больших количествах уже проложен между АТС и домами того района города, который данная АТС обслуживает и который заканчивается пассивной телефонной розеткой, а не усилителем-регенератором.

Поэтому массовый переход на полностью цифровые телефонные сети связан с большими капиталовложениями и требует значительного времени для его осуществления, что и показала жизнь.

Однако для некоторых особо требовательных абонентов, которые согласны заплатить за повышения качества и скорости коммутируемых каналов, телефонные компании уже достаточно давно предлагают цифровые коммутируемые службы. Обычно такими абонентами являются корпоративные абоненты, которым нужен быстрый и качественный доступ к корпоративной информации.

Одной из первых служб такого рода стала служба Switched 56, предлагаемая различными телекоммуникационными компаниями в США, Англии и некоторых других странах. Технология этой службы (которая в разных странах имеет разное название, например, в Англии - Kilostream) основана на 4-проводном окончании каналов Т1. Абонент для подключения к сети должен установить у себя соответствующее оборудование, представляющее собой DSU/CSU со встроенным блоком автовызова. Использование 8-го бита для передачи номера вызываемого абонента, а также для других служебных целей ограничивает скорость передачи данных до 56 Кбит/с. Типичная схема функционирования службы Switched 56 показана на рис. 6.15.

Рис. 6.15. Функционирование службы Switched 56

Абонентами обычно являются компьютеры или локальные сети, подключаемые к сети с помощью маршрутизатора или удаленного моста. Местные станции соединяются с некоторой центральной станцией, которая коммутирует цифровые потоки Т1/Е1. Сеть является полностью цифровой и поддерживает различные скорости передачи данных - от 2400 бит/с до 56 Кбит/с. Абоненты службы Switched 56 подключаются также к общей публичной телефонной сети, однако соединения со скоростью 56 Кбит/с возможны только в том случае, когда оба абонента пользуются этой службой.

Стандарты службы Switched 56 разные в разных компаниях и разных странах. Сегодня этот вид службы вытесняется сетями ISDN, стандарты которых являются международными, хотя в этой области также имеются проблемы совместимости сетей разных стран.

6.3.3. ISDN - сети с интегральными услугами

Цели и история создания технологии ISDN

ISDN (Integrated Services Digital Network - цифровые сети с интегральными услугами) относятся к сетям, в которых основным режимом коммутации является режим коммутации каналов, а данные обрабатываются в цифровой форме. Идеи перехода телефонных сетей общего пользования на полностью цифровую обработку данных, при которой конечный абонент передает данные непосредственно в цифровой форме, высказывались давно. Сначала предполагалось, что абоненты этой сети будут передавать только голосовые сообщения. Такие сети получили название IDN - Integrated Digital Network. Термин «интегрированная сеть» относился к интеграции цифровой обработки информации сетью с цифровой передачей голоса абонентом. Идея такой сети была высказана еще в 1959 году. Затем было решено, что такая сеть должна предоставлять своим абонентам не только возможность поговорить между собой, но и воспользоваться другими услугами - в первую очередь передачей компьютерных данных. Кроме того, сеть должна была поддерживать для абонентов разнообразные услуги прикладного уровня - факсимильную связь, телетекс (передачу данных между двумя терминалами), видеотекс (получение хранящихся в сети данных на свой терминал), голосовую почту и ряд других. Предпосылки для создания такого рода сетей сложились к середине 70-х годов. К этому времени уже широко применялись цифровые каналы Т1 для передачи данных в цифровой форме между АТС, а первый мощный цифровой коммутатор телефонных каналов 4ESS был выпущен компанией Western Electric в 1976 году.

В результате работ, проводимых по стандартизации интегральных сетей в CCITT, в 1980 году появился стандарт G.705, в котором излагались общие идеи такой сети. Конкретные спецификации сети ISDN появились в 1984 году в виде серии рекомендаций I. Этот набор спецификаций был неполным и не подходил для построения законченной сети. К тому же в некоторых случаях он допускал неоднозначность толкования или был противоречивым. В результате, хотя оборудование ISDN и начало появляться примерно с середины 80-х годов, оно часто было несовместимым, особенно если производилось в разных странах. В 1988 году рекомендации серии I были пересмотрены и приобрели гораздо более детальный и законченный вид, хотя некоторые неоднозначности сохранились. В 1992 и 1993 годах стандарты ISDN были еще раз пересмотрены и дополнены. Процесс стандартизации этой технологии продолжается.

Внедрение сетей ISDN началось достаточно давно - с конца 80-х годов, однако высокая техническая сложность пользовательского интерфейса, отсутствие единых стандартов на многие жизненно важные функции, а также необходимость крупных капиталовложений для переоборудования телефонных АТС и каналов связи привели к тому, что инкубационный период затянулся на многие годы, и сейчас, когда прошло уже более десяти лет, распространенность сетей ISDN оставляет желать лучшего. Кроме того, в разных странах судьба ISDN складывалась по-разному. Наиболее давно в национальном масштабе эти сети работают в таких странах, как Германия и Франция. Тем не менее доля абонентов ISDN даже в этих странах составляет немногим более 5 % от общего числа абонентов телефонной сети. В США процесс внедрения сетей ISDN намного отстал от Европы, поэтому сетевая индустрия только недавно заметила наличие такого рода сетей. Если судить о тех или иных типах глобальных сетей по коммуникационному оборудованию для корпоративных сетей, то может сложиться ложное впечатление, что технология ISDN появилась где-то в 1994 - 1995 годах, так как именно в эти годы начали появляться маршрутизаторы с поддержкой интерфейса ISDN. Это обстоятельство просто отражает тот факт, что именно в эти годы сеть ISDN стала достаточно распространенной в США - стране, компании которой являются лидерами в производстве сетевого оборудования для корпоративных сетей.

Архитектура сети ISDN предусматривает несколько видов служб (рис. 6.16):

Рис. 6.16. Службы ISDN

  • некоммутируемые средства (выделенные цифровые каналы);

  • коммутируемая телефонная сеть общего пользования;

  • сеть передачи данных с коммутацией каналов;

  • сеть передачи данных с коммутацией пакетов;

  • сеть передачи данных с трансляцией кадров (frame relay);

  • средства контроля и управления работой сети.

Как видно из приведенного списка, транспортные службы сетей ISDN действительно покрывают очень широкий спектр услуг, включая популярные услуги frame relay. Кроме того, большое внимание уделено средствам контроля сети, которые позволяют маршрутизировать вызовы для установления соединения с абонентом сети, а также осуществлять мониторинг и управление сетью. Управляемость сети обеспечивается интеллектуальностью коммутаторов и конечных узлов сети, поддерживающих стек протоколов, в том числе и специальных протоколов управления.

Стандарты ISDN описывают также ряд услуг прикладного уровня: факсимильную связь на скорости 64 Кбит/с, телексную связь на скорости 9600 бит/с, видеотекс на скорости 9600 бит/с и некоторые другие.

На практике не все сети ISDN поддерживают все стандартные службы. Служба frame relay хотя и была разработана в рамках сети ISDN, однако реализуется, как правило, с помощью отдельной сети коммутаторов кадров, не пересекающейся с сетью коммутаторов ISDN.

Базовой скоростью сети ISDN является скорость канала DS-0, то есть 64 Кбит/с. Эта скорость ориентируется на самый простой метод кодирования голоса - ИКМ, хотя дифференциальное кодирование и позволяет передавать голос с тем же качеством на скорости 32 или 16 Кбит/с.

Пользовательские интерфейсы ISDN

Одним из базовых принципов ISDN является предоставление пользователю стандартного интерфейса, с помощью которого пользователь может запрашивать у сети разнообразные услуги. Этот интерфейс образуется между двумя типами оборудования, устанавливаемого в помещении пользователя (Customer Premises Equipment, СРЕ): терминальным оборудованием пользователя ТЕ (компьютер с соответствующим адаптером, маршрутизатор, телефонный аппарат) и сетевым окончанием NT, которое представляет собой устройство, завершающее канал связи с ближайшим коммутатором ISDN.

Пользовательский интерфейс основан на каналах трех типов:

  • В-со скоростью передачи данных 64 Кбит/с;

  • D - со скоростью передачи данных 16 или 64 Кбит/с;

  • Н - со скоростью передачи данных 384 Кбит/с (НО), 1536 Кбит/с (НИ) или 1920 Кбит/с (Н12).

Каналы типа В обеспечивают передачу пользовательских данных (оцифрованного голоса, компьютерных данных или смеси голоса и данных) и с более низкими скоростями, чем 64 Кбит/с. Разделение данных выполняется с помощью техники TDM. Разделением канала В на подканалы в этом случае должно заниматься пользовательское оборудование, сеть ISDN всегда коммутирует целые каналы типа В. Каналы типа В могут соединять пользователей с помощью техники коммутации каналов друг с другом, а также образовывать так называемые полупостоянные (semipermanent) соединения, которые эквиваленты соединениям службы выделенных каналов. Канал типа В может также подключать пользователя к коммутатору сети Х.25.

Канал типа D выполняет две основные функции. Первой и основной является передача адресной информации, на основе которой осуществляется коммутация каналов типа В в коммутаторах сети. Второй функцией является поддержание услуг низкоскоростной сети с коммутацией пакетов для пользовательских данных. Обычно эта услуга выполняется сетью в то время, когда каналы типа D свободны от выполнения основной функции.

Каналы типа Н предоставляют пользователям возможности высокоскоростной передачи данных. На них могут работать службы высокоскоростной передачи факсов, видеоинформации, качественного воспроизведения звука.

Пользовательский интерфейс ISDN представляет собой набор каналов определенного типа и с определенными скоростями.

Сеть ISDN поддерживает два типа пользовательского интерфейса - начальный (Basic Rate Interface, BRI) и основной (Primay Rate Interface, PRI).

Начальный интерфейс BRI предоставляет пользователю два канала по 64 Кбит/с для передачи данных (каналы типа В) и один канал с пропускной способностью 16 Кбит/с для передачи управляющей информации (канал типа D). Все каналы работают в полнодуплексном режиме. В результете суммарная скорость интерфейса BRI для пользовательских данных составляет 144 Кбит/с по каждому направлению, а с учетом служебной информации - 192 Кбит/с. Различные каналы пользовательского интерфейса разделяют один и тот же физический двухпроводный кабель по технологии TDM, то есть являются логическими каналами, а не физическими. Данные по интерфейсу BRI передаются кадрами, состоящими из 48 бит. Каждый кадр содержит по 2 байта каждого из В каналов, а также 4 бита канала D. Передача кадра длится 250 мс, что обеспечивает скорость данных 64 Кбит/с для каналов В и 16 Кбит/с для канала D. Кроме бит данных кадр содержит служебные биты для обеспечения синхронизации кадров, а также обеспечения нулевой постоянной составляющей электрического сигнала.

Интефейс BRI может поддерживать не только схему 2B+D, но и B+D и просто D (когда пользователь направляет в сеть только пакетизированные данные).

Начальный интерфейс стандартизован в рекомендации 1.430.

Основной интерфейс PRI предназначен для пользователей с повышенными требованиями к пропускной способности сети. Интерфейс PRI поддерживает либо схему 30B+D, либо схему 23B+D. В обеих схемах канал D обеспечивает скорость 64 Кбит/с. Первый вариант предназначен для Европы, второй - для Северной Америки и Японии. Ввиду большой популярности скорости цифровых каналов 2,048 Мбит/с в Европе и скорости 1,544 Мбит/с в остальных регионах, привести стандарт на интерфейс PRI к общему варианту не удалось.

Возможны варианты интерфейса PRI с меньшим количеством каналов типа В, например 20B+D. Каналы типа В могут объединяться в один логический высокоскоростной канал с общей скоростью до 1920 Кбит/с. При установке у пользователя нескольких интерфейсов PRI все они могут иметь один канал типа D, при этом количество В каналов в том интерфейсе, который не имеет канала D, может увеличиваться до 24 или 31.

Основной интерфейс может быть основан на каналах типа Н. При этом общая пропускная способность интерфейса все равно не должна превышать 2,048 или 1,544 Мбит/с. Для каналов НО возможны интерфейсы 3HO+D для американского варианта и 5HO+D для европейского. Для каналов HI возможен интерфейс, состоящий только из одного канала НИ (1,536 Мбит/с) для американского варианта или одного канала HI 2 (1,920 Мбит/с) и одного канала D для европейского варианта.

Кадры интерфейса PRI имеют структуру кадров DS-1 для каналов Т1 или Е1. Основной интерфейс PRI стандартизован в рекомендации 1.431.

Подключение пользовательского оборудования к сети ISDN

Подключение пользовательского оборудования к сети ISDN осуществляется в соответствии со схемой подключения, разработанной CCITT (рис. 6.17). Оборудование делится на функциональные группы, и в зависимости от группы различается несколько справочных точек (reference points) соединения разных групп оборудования между собой.

Рис. 6.17. Подключение пользовательского оборудования ISDN

Устройства функциональной группы NT1 (Network Termination 1) образуют цифровое абонентское окончание (Digital Suscriber Line, DSL) на кабеле, соединяющем пользовательское оборудование с сетью ISDN. Фактически NT1 представляет собой устройство типа CSU, которое работает на физическом уровне и образует дуплексный канал с соответствующим устройством CSU, установленном на территории оператора сети ISDN. Справочная точка U соответствует точке подключения устройства NT1 к сети. Устройство NT1 может принадлежать оператору сети (хотя всегда устанавливается в помещении пользователя), а может принадлежать и пользователю. В Европе принято считать устройство NT1 частью оборудования сети, поэтому пользовательское оборудование (например, маршрутизатор с интерфейсом ISDN) выпускается без встроенного устройства NT1. В Северной Америке принято считать устройство NT1 принадлежностью пользовательского оборудования, поэтому для этого применения оборудование часто выпускается со встроенным устройством NT1.

Если пользователь подключен через интерфейс BRI, то цифровое абонентское окончание выполнено по 2-проводной схеме (как и обычное окончание аналоговой телефонной сети). Для организации дуплексного режима используется технология одновременной выдачи передатчиками потенциального кода 2B1Q с эхо - подавлением и вычитанием своего сигнала из суммарного. Максимальная длина абонентского окончания в этом случае составляет 5,5 км.

При использовании интерфейса PRI цифровое абонентское окончание выполняется по схеме канала Т1 или Е1, то есть является 4-проводным с максимальной длиной около 1800 м.

Устройства функциональной группы NT2 (Network Termination 2) представляют собой устройства канального или сетевого уровня, которые выполняют функции концентрации пользовательских интерфейсов и их мультиплексирование. Например, к этому типу оборудования относятся: офисная АТС (РВХ), коммутирующая несколько интерфейсов BRI, маршрутизатор, работающий в режиме коммутации пакетов (например, по каналу D), простой мультиплексор TDM, который мультиплексирует несколько низкоскоростных каналов в один канал типа В. Точка подключения оборудования типа NT2 к устройству NT1 называется справочной точкой типа Т. Наличие этого типа оборудования не является обязательным в отличие от NT1.

Устройства функциональной группы ТЕ1 (Terminal Equipment 1) относятся к устройствам, которые поддерживают интерфейс пользователя BRI или PRI. Справочная точка S соответствует точке подключения отдельного терминального оборудования, поддерживающего один из интерфейсов пользователя ISDN. Таким оборудованием может быть цифровой телефон или факс-аппарат. Так как оборудование типа NT2 может отсутствовать, то справочные точки S и Т объединяются и обозначаются как S/T.

Устройства функциональной группы ТЕ2 (Terminal Equipment 2) представляют собой устройства, которые не поддерживают интерфейс BRI или PRI. Таким устройством может быть компьютер, маршрутизатор с последовательными интерфейсами, не относящимися к ISDN, например RS-232C, Х.21 или V.35. Для подключения такого устройства к сети ISDN необходимо использовать терминальный адаптер (Terminal Adaptor, ТА). Для компьютеров терминальные адаптеры выпускаются в формате сетевых адаптеров - как встраиваемая карта.

Физически интерфейс в точке S/T представляет собой 4-проводную линию. Так как кабель между устройствами ТЕ1 или ТА и сетевым окончанием NT1 или NT2 обычно имеет небольшую длину, то разработчики стандартов ISDN решили не усложнять оборудование, так как организация дуплексного режима на 4-про-водной линии намного легче, чем на 2-проводной. Для интерфейса BRI в качестве метода кодирования выбран биполярный AMI, причем логическая единица кодируется нулевым потенциалом, а логический ноль - чередованием потенциалов противоположной полярности. Для интерфейса PRI используются другие коды, те же, что и для интерфейсов Т1 и Е1, то есть соответственно B8ZS и HDB3.

Физическая длина интерфейса PRI колеблется от 100 до 1000 м в зависимости от схемы подключения устройств (рис. 6.18).

Рис. 6.18. Многоточечное подключение терминалов к сетевому окончанию

Дело в том, что при небольшом количестве терминалов (ТЕ1 или ТЕ2+ТА) разрешается не использовать местную офисную АТС, а подключать до 8 устройств к одному устройству типа NT1 (или NT2 без коммутационных возможностей) с помощью схемы монтажного ИЛИ (подключение напоминает подключение станций к коаксиальному кабелю Ethernet, но только в 4-проводном варианте). При подключении одного устройства ТЕ (через терминальные резисторы R, согласующие параметры линии) к сетевому окончанию NT (см. рис. 6.18, а) длина кабеля может достигать 1000 м. При подключении нескольких устройств к пассивному кабелю (см. рис. 6.18, б) максимальная длина кабеля сокращается до 100-200 м. Правда, если эти устройства сосредоточены на дальнем конце кабеля (расстояние между ними не превышает 25-50 м), то длина кабеля может быть увеличена до 500 м (см. рис. 6.18, в). И наконец, существуют специальные многопортовые устройства NT1, которые обеспечивают звездообразное подключение до 8 устройств, при этом длина кабеля увеличивается до 1000 м (см. рис. 6.18, г).

Адресация в сетях ISDN

Технология ISDN разрабатывалась как основа всемирной телекоммуникационной сети, позволяющей связывать как телефонных абонентов, так и абонентов других глобальных сетей - компьютерных, телексных. Поэтому при разработке схемы адресации узлов ISDN необходимо было, во-первых, сделать эту схему достаточно емкой для всемирный адресации, а во-вторых, совместимой со схемами адресации других сетей, чтобы абоненты этих сетей, в случае соединения своих сетей через сеть ISDN, могли бы пользоваться привычными форматами адресов. Разработчики стека TCP/IP пошли по пути введения собственной системы адресации, независимой от систем адресации объединяемых сетей. Разработчики технологии ISDN пошли по другому пути - они решили добиться использования в адресе ISDN адресов объединяемых сетей.

Основное назначение ISDN - это передача телефонного трафика. Поэтому за основу адреса ISDN был взят формат международного телефонного плана номеров, описанный в стандарте ITU-T E.163. Однако этот формат был расширен для поддержки большего числа абонентов и для использования в нем адресов других сетей, например Х.25. Стандарт адресации в сетях ISDN получил номер Е.164.

Формат Е.163 предусматривает до 12 десятичных цифр в номере, а формат адреса ISDN в стандарте Е.164 расширен до 55 десятичных цифр. В сетях ISDN различают номер абонента и адрес абонента. Номер абонента соответствует точке Т подключения всего пользовательского оборудования к сети. Например, вся офисная АТС может идентифицироваться одним номером ISDN. Номер ISDN состоит из 15 десятичных цифр и делится, как и телефонный номер по стандарту Е.163, на поле «Код страны» (от 1 до 3 цифр), поле «Код города» и поле «Номер абонента». Адрес ISDN включает номер плюс до 40 цифр подадреса. Подадрес используется для нумерации терминальных устройств за пользовательским интерфейсом, то есть подключенных к точке S. Например, если на предприятии имеется офисная АТС, то ей можно присвоит один номер, например 7-095-640-20-00, а для вызова абонента, имеющего подадрес 134, внешний абонент должен набрать номер 7-095-640-20-00-134.

При вызове абонентов из сети, не относящейся к ISDN, их адрес может непосредственно заменять адрес ISDN. Например, адрес абонента сети Х.25, в которой используется система адресации по стандарту X.I 21, может быть помещен целиком в поле адреса ISDN, но для указания, что это адрес стандарта Х.121, ему должно предшествовать поле префикса, в которое помещается код стандарта адресации, в данном случае стандарта Х.121. Коммутаторы сети ISDN могут обработать этот адрес корректно и установить связь с нужным абонентом сети Х.25 через сеть ISDN - либо коммутируя канал типа В с коммутатором Х.25, либо передавая данные по каналу типа D в режиме коммутации пакетов. Префикс описывается стандартом ISO 7498.

Стандарт ISO 7498 определяет достаточно сложный формат адреса, причем основой схемы адресации являются первые два поля. Поле AFI (Athority and Formay Identifier) задает значения всех остальных полей адреса и формат этих полей. Значением поля AFI является один из 6 типов поддоменов глобального домена адресации:

  • четыре типа доменов соответствуют четырем типам публичных телекоммуникационных сетей - сетей с коммутацией пакетов, телексных сетей, публичных телефонных сетей и сетей ISDN;

  • пятый тип домена - это географический домен, который назначается каждой стране (в одной стране может быть несколько географических доменов);

  • шестой тип домена - это домен организационного типа, в который входят международные организации, например ООН или АТМ Forum. За полем AFI идет поле IDI (Initial Domail Identifier) - поле начального идентификатора домена, а за ним располагается дополнительное поле DSP (Domain Specific Part), которое может нести дополнительные цифры номера абонента, если разрядности поля INI не хватает.

Определены следующие значения AFI:

  • Международные сети с коммутацией пакетов со структурой адресов в стандарте X.I 21-36, если адрес задается только десятичными цифрами, и 37, если адрес состоит из произвольных двоичных значений. При этом поле INI имеет формат в 14 десятичных цифр, а поле DSP может содержать еще 24 цифры.

  • Международные сети ISDN со структурой адресов в стандарте Е.164 - 44, если адрес задается только десятичными цифрами, и 45, если адрес состоит из произвольных двоичных значений. При этом поле IDI имеет формат в 15 десятичных цифр, а поле DSP может содержать еще 40 цифр.

  • Международные телефонные сети PSTN со структурой адресов в стандарте E.I 63 - 42, если адрес задается только десятичными цифрами, и 43, если адрес состоит из произвольных двоичных значений. При этом поле IDI имеет формат в 12 десятичных цифр, а поле DSP может содержать еще 26 цифр.

  • Международные географические домены со структурой адресов в стандарте ISO DCC (Digital Country Codes) - 38, если адрес задается только десятичными цифрами, и 39, если адрес состоит из произвольных двоичных значений. При этом поле INI имеет формат в 3 десятичных цифры (код страны), а поле DSP может содержать еще 35 цифр.

  • Домен международных организаций. Для него однобайтовое поле IDI содержит код международной организации, от которой зависит формат поля DSP. Для первых четырех доменов адрес абонента помещается непосредственно в поле IDI. Для пятого и шестого типов доменов IDI содержит только код страны или код организации, которая контролирует структуру и нумерацию части DSP.

Еще одним способом вызова абонентов из других сетей является указание в адресе ISDN двух адресов: адреса ISDN пограничного устройства, например, соединяющего сеть ISDN с сетью Х.25, и адреса узла в сети Х.25. Адреса должны разделяться специальным разделителем. Два адреса используются за два этапа - сначала сеть ISDN устанавливает соединение типа коммутируемого канала с пограничным устройством, присоединенным к сети ISDN, а затем передает ему вторую часть адреса, чтобы это устройство осуществило соединение с требуемым абонентом.

Стек протоколов и структура сети ISDN

В сети ISDN (рис. 6.19) существуют два стека протоколов: стек каналов типа D и стек каналов типа В.

Рис. 6.19. Структура сети ISDN

Каналы типа D образуют достаточно традиционную сеть с коммутацией пакетов. Прообразом этой сети послужила технология сетей Х.25. Для сети каналов D определены три уровня протоколов: физический протокол определяется стандартом 1.430/431, канальный протокол LAP-D определяется стандартом Q.921, а на сетевом уровне может использоваться протокол Q.931, с помощью которого выполняется маршрутизация вызова абонента службы с коммутацией каналов, или же протокол Х.25 - в этом случае в кадры протокола LAP-D вкладываются пакеты Х.25 и коммутаторы ISDN выполняют роль коммутаторов Х.25.

Сеть каналов типа D внутри сети ISDN служит транспортным уровнем для так называемой системы сигнализации номер 7 (Signal System Number 7, SS7). Система SS7 была разработана для целей внутреннего мониторинга и управления коммутаторами телефонной сети общего назначения. Эта система применяется и в сети ISDN. Служба SS7 относится к прикладному уровню модели OSI. Конечному пользователю ее услуги недоступны, так как сообщениями SS7 коммутаторы сети обмениваются только между собой.

Каналы типа В образуют сеть с коммутацией цифровых каналов. В терминах модели OSI на каналах типа В в коммутаторах сети ISDN определен только протокол физического уровня - протокол 1.430/431. Коммутация каналов типа В происходит по указаниям, полученным по каналу D. Когда пакеты протокола Q.931 маршрутизируются коммутатором, то при этом происходит одновременная коммутация очередной части составного канала от исходного абонента к конечному.

Протокол LAP-D принадлежит семейству HDLC и обладает всеми родовыми чертами этого семейства, но отличается некоторыми особенностями. Адрес кадра LAP-D состоит из двух байт - один байт определяет код службы, которой пересылаются вложенные в кадр пакеты, а второй используется для адресации одного из терминалов, если у пользователя к сетевому окончанию NT1 подключено несколько терминалов. Терминальное устройство может поддерживать разные службы - службу установления соединения по протоколу Q.931, службу коммутации пакетов Х.25, службу мониторинга сети и т. п. Протокол LAP-D обеспечивает два режима работы: с установлением соединения (единственный режим работы протокола LLC2) и без установления соединения. Последний режим используется, например, для управления и мониторинга сети.

Протокол Q.931 переносит в своих пакетах адрес ISDN вызываемого абонента, на основании которого и происходит настройка коммутаторов на поддержку составного канала типа В.

Использование служб ISDN в корпоративных сетях

Несмотря на большие отличия от аналоговых телефонных сетей, сети ISDN сегодня используются в основном так же, как аналоговые телефонные сети, то есть как сети с коммутацией каналов, но только более скоростные: интерфейс BRI дает возможность установить дуплексный режим обмена со скоростью 128 Кбит/с (логическое объединение двух каналов типа В), а интерфейс PRI - 2,048 Мбит/с. Кроме того, качество цифровых каналов гораздо выше, чем аналоговых, а это значит, что процент искаженных кадров будет гораздо ниже и полезная скорость обмена данными существенно выше.

Обычно интерфейс BRI используется в коммуникационном оборудовании для подключения отдельных компьютеров или небольших локальных сетей, а интерфейс PRI - в маршрутизаторах, рассчитанных на сети средних размеров.

Что же касается объединения компьютерных сетей для поддержки службы с коммутацией пакетов, то здесь сети ISDN предоставляют не очень большие возможности.

На каналах типа В режим коммутации пакетов поддерживается следующим образом - либо с помощью постоянного соединения с коммутатором сети Х.25, либо с помощью коммутируемого соединения с этим же коммутатором. То есть каналы типа В в сетях ISDN являются только транзитными для доступа к «настоящей» сети Х.25. Собственно, это сводится к первому случаю использования сети ISDN - только как сети с коммутацией каналов.

Развитие технологии трансляции кадров на каналах типа В - технологии frame relay - привело к тому, что сети frame relay стали самостоятельным видом сетей со своей инфраструктурой каналов и коммутаторов. Поэтому эта технология рассматривается ниже в разделе, посвященном сетям с коммутацией пакетов.

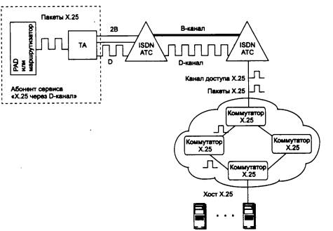
Остается служба коммутации пакетов, доступная по каналу D. Так как после передачи адресной информации канал D остается свободным, по нему можно реализовать передачу компьютерных пакетов Х.25, поскольку протокол LAP-D позволяет это делать. Чаще всего сеть ISDN используется не как замена сети Х.25, а как разветвленная сеть доступа к менее географически распространенной и узкоспециализированной сети Х.25 (рис. 6.20). Такая услуга обычно называется «доступ к сети Х.25 через канал типа D». Скорость доступа к сети Х.25 по каналу типа D обычно не превышает 9600 бит/с.

Рис. 6.20. Доступ к сети Х.25 через канал типа D сети ISDN

Сети ISDN не рассматриваются разработчиками корпоративных сетей как хорошее средство для создания магистрали сети. Основная причина - отсутствие скоростной службы коммутации пакетов и невысокие скорости каналов, предоставляемых конечным пользователям. Для целей же подключения мобильных и домашних пользователей, небольших филиалов и образования резервных каналов связи сети ISDN сейчас используются очень широко, естественно там, где они существуют. Производители коммуникационного оборудования выпускают широкий спектр продуктов для подключения локальных сетей к ISDN - терминальных адаптеров, удаленных мостов и офисных маршрутизаторов невысокой стоимости.

Выводы

  • Сети с коммутацией каналов используются в корпоративных сетях в основном для удаленного доступа многочисленных домашних пользователей и гораздо реже - для соединения локальных сетей.

  • Отличительными особенностями всех сетей с коммутацией каналов являются: работа в режиме установления соединений, возможность блокировки вызова конечным абонентом или промежуточным коммутатором, необходимость использования на обоих концах сети устройств, поддерживающих одну и ту же скорость передачи данных, так как этот вид сетей не выполняет промежуточную буферизацию данных.

  • Сети с коммутацией каналов делятся на аналоговые и цифровые. Аналоговые сети могут использовать аналоговую (FDM) и цифровую (TDM) коммутацию, но в них всегда абонент подключен по аналоговому 2-проводному окончанию. В цифровых сетях мультиплексирование и коммутация всегда выполняются по способу коммутации TDM, а абоненты всегда подключаются по цифровому абонентскому окончанию (DSL).

  • Аналоговые сети обеспечивают вызов посредством импульсного или тонового набора номера с частотой 10 Гц, причем тоновый набор примерно в 5 раз быстрее импульсного.

  • Аналоговые сети используют электромеханические коммутаторы, создающие большие помехи, и электронные программно-управляемые коммутаторы. При работе электронного коммутатора в режиме частотного уплотнения (FDM) создаются дополнительные помехи при демультиплексировании и мультиплексировании абонентских каналов.

  • Модемы для работы по коммутируемым аналоговым телефонным каналам должны поддерживать функцию автовызова удаленного абонента. При асинхронном интерфейсе модем использует для этого команды Hayes-совместимых модемов, а при синхронном интерфейсе - стандарт V.25 или V.25 bis.

  • Основные стандарты модемов для коммутируемых каналов тональной частоты - это стандарты V.34+, V.90, V.42 и V.42 bis. Стандарт V.34+ является общим стандартом для работы по выделенным и коммутируемым каналам при 2-проводном окончании. Стандарт V.42 определяет протокол коррекции ошибок LAP-M из семейства HDLC, а стандарт VC.42 bis - метод компрессии данных при асинхронном интерфейсе. В синхронном интерфейсе для коррекции ошибок используется протокол HDLC, а для компрессии - фирменный протокол SDC компании Motorola.

  • Стандарт V.90 полезен в том случае, когда между модемом пользователя и сервером удаленного доступа поставщика услуг все АТС обеспечивают цифровые методы коммутации, а сервер подключен по цифровому абонентскому окончанию. В этом случае скорость передачи данных от сервера к пользователю повышается до 56 Кбит/с за счет отсутствия аналогово-цифрового преобразования на этом направлении.

  • Цифровые сети с коммутацией каналов представлены двумя технологиями:Switched 56 и ISDN.

  • Switched 56 - это переходная технология, которая основана на предоставлении пользователю 4-проводного цифрового абонентского окончания Т1/Е1, но со скоростью 56 Кбит/с. Коммутаторы такой сети работают с использованием цифровой коммутации. Технология Switched 56 обеспечивает соединение компьютеров и локальных сетей со скоростью 56 Кбит/с.

  • Цифровые сети с интегрированными услугами - ISDN - разработаны для объединения в одной сети различных транспортных и прикладных служб. ISDN предоставляет своим абонентам услуги выделенных каналов, коммутируемых каналов, а также коммутации пакетов и кадров (frame relay).

  • Интерфейс UNI предоставляется пользователям ISDN в двух видах - BRI и PRI. Интерфейс BRI предназначен для массового пользователя и построен по схеме 2B+D. Интерфейс PRI имеет две разновидности - североамериканскую 23B+D и европейскую 30B+D.

  • Каналы типа D образуют сеть с коммутацией пакетов, выполняющую двоякую роль в сети ISDN: во-первых, передачу запроса на установление коммутируемого канала типа В с другим абонентом сети, во-вторых, обмен пакетами Х.25 с абонентами сети ISDN или внешней сети Х.25, соединенной с сетью ISDN.

  • Цифровое абонентское окончание DSL сети ISDN для интерфейса BRI представляет собой 2-проводной кабель с максимальной длиной 5,5 км.

  • Построение глобальных связей на основе сетей ISDN в корпоративной сети ограничено в основном организацией удаленного доступа и объединением небольших локальных сетей на основании службы коммутации каналов. Служба коммутации пакетов по каналу типа D реализуется редко - это связано с его невысокой скоростью, которая обычно составляет не более 9600 бит/с. Поэтому сети ISDN используются так же, как и аналоговые телефонные сети, но только как более скоростные и надежные.

Назад | Содержание | Вперед